自贸区
自由贸易区:(Free Trade Area,FTA),指两个以上的国家根据WTO相关规则签署自由贸易协定所形成的区域,不仅包括货物贸易自由化,还涉及服务贸易、投资、政府采购、知识产权保护、标准化等更多领域的相互承诺,是一个国家实施多双边合作战略的手段。自贸区的生产、贸易和投资活动适用的关税、审批和管理政策灵活。目前世界上典型的自由贸易区包括北美自由贸易区(NAFTA),欧盟(EU),东盟自由贸易区(AFTA)等。
自贸试验区
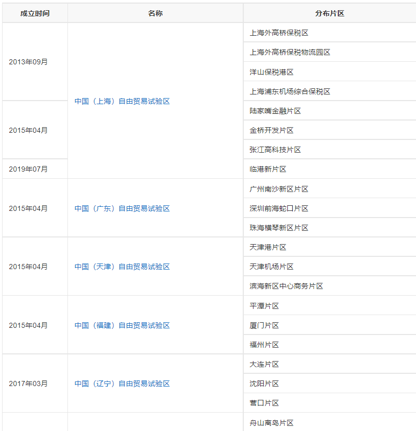
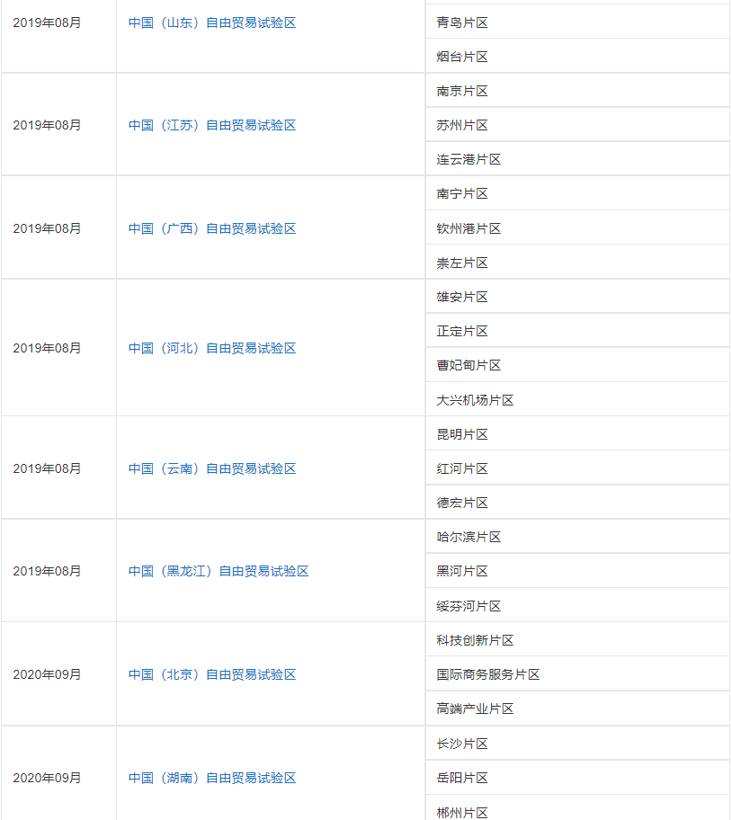
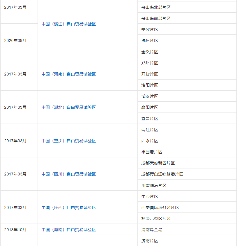
自由贸易试验区:(Free Trade Zone,FTZ),指在我国境内关外设立的,以优惠税收和海关特殊监管政策为主要手段,以贸易自由化、便利化为主要目的的多功能经济性特区。中国自由贸易区是政府全力打造中国经济升级版的重要举动,其核心是营造一个符合国际惯例的,对内外资的投资都要具有国际竞争力的国际商业环境。2013年9月27日,国务院批复成立中国(上海)自由贸易试验区。中国(上海)自由贸易试验区是我国首个自由贸易园区,同时也是我国第一批设在境内关外的自贸区,如今我国已建立了21个自由贸易试验区。
具体异同一览表

战略定位
自贸区
自由贸易区是跨国界或跨边境的。覆盖签署自由贸易协定的各成员的全部关税领土,而非其中的某一部分。近年来,主要经济体纷纷将商谈自贸区作为重要战略推动,自贸协定已成为大国开展地缘政治和经济博弈的重要手段。开展区域贸易协定谈判是有效手段。如RCEP包含亚洲和大洋洲的15个国家,CPTPP包含北美洲、南美洲、亚洲和大洋洲的11个国家。
自贸试验区
1.全面深化改革和扩大开放的试验田,按照国际通行规则,形成与国际投资、贸易通行规则相衔接的基本制度体系和监管模式,创造国际化、市场化、法治化的优质营商环境。
2.制度创新高地,制度创新是核心任务,形成可在全国复制推广的新制度。
3.安全阀,相关改革在自由贸易试验区进行压力测试后逐步放开,以控制各方面风险特别是金融风险。
简而言之,中国自由贸易试验区是我国深化改革开放的试验田,围绕制度创新,提前自我加压并在全国推广,为我国全面对接、融入新一代的国际规则和体系做好各项准备。













中国(河北)自贸试验区正式揭牌
2019年8月2日,《国务院关于印发6个新设自由贸易试验区总体方案的通知》印发实施,中国(河北)自由贸易试验区正式设立。

2019年8月30日,中国(河北)自贸试验区正式揭牌。
中国(河北)自由贸易试验区涵盖雄安片区、正定片区、曹妃甸片区、大兴机场片区,总面积119.97平方公里。
来源:综合自冀之窗、网络、新华网、中国贸促FTA、关务情报科、国商机构等微信公众号

