本案涉及南备迩公司向日本特许厅申请的发明专利——标签投入装置的复审争议。公司因发明被认为缺乏创造性而提起诉讼,争议焦点为专利是否具备显著的技术进步。法院认为,本发明与现有技术相比差异不大,且技术效果并不显著,复审决定未发生错误。案件揭示了专利申请中差异点的明确性和技术效果的充分证明对创造性判断的重要性,对企业专利撰写与保护具有重要启示。
案例关键词:日本、专利申请、创造性、技术效果、技术差异点
一、基本情况
(一)涉案专利
专利名称:标签投入装置
专利号:特願2018-96892
产业领域:传统制造业
判决日期:2024年7月25日
(二)涉案当事人信息
原告:南备迩公司(株式会社ナベル)
被告:特许厅长官
审理机关:知识产权高等法院
(三)基本案情
2018年5月21日,南备迩公司在日本提出名为“标签投入装置”、申请号为特願2018-96892号的发明专利申请(以下简称“本申请”)。
本申请涉及向鸡蛋包装投入标签的标签投入装置。传统的标签投入装置通过引导板形成的通道,向鸡蛋包装的两排鸡蛋之间的标签配置区域落下标签进行投入。但是,由于投入的标签是相对较薄小的纸,因此容易受到引导板的状态和引导板附近环境的影响,无法在期望的位置以期望的姿态投入标签。这个问题在鸡蛋包装沿长边方向输送时尤其容易发生。
本申请发明关注这样的问题,采用了如下涉诉的权利要求1所记载的技术方案:
“1.一种标签投入装置,其将长方形的标签一张一张地投入到鸡蛋包装中,所述鸡蛋包装沿着形成于鸡蛋包装的两列的鸡蛋之间的标签配置区域输送,该标签投入装置具有放出机构,该放出机构使立起的标签的下缘的长边沿着所述标签配置区域,向沿着长边的方向放出所述标签。”
根据本申请的发明,可以提供能够确保向鸡蛋包装的标签配置区域投入标签的标签投入装置。
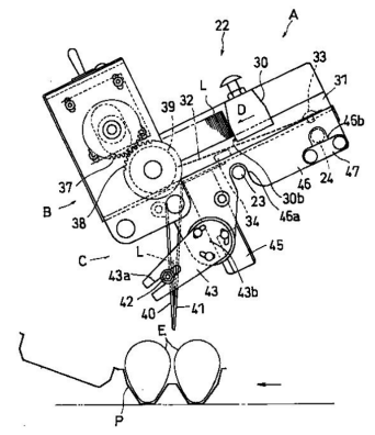
本申请的一种实施方式是,一种向鸡蛋包装PE的两排鸡蛋E之间形成的标签配置区域R逐个投入标签L的装置,该装置包括输送机构1、保持机构2、释放机构3和多个辊子5。保持机构2夹持标签La的基端部L4,沿标签配置区域R立起并保持即将投入鸡蛋包装PE的标签La。释放机构3与沿标签配置区域R输送的鸡蛋包装PE相同的方向释放由保持机构2保持的标签L。辊子5中的位于输送路径6端部的辊子5a除了起到输送机构1、保持机构2的作用外,还起到释放机构3的作用。由辊子5a从放出口7释放的标签La除了重力外,还受到沿标签配置区域R方向的惯性力的作用。这样的装置可以确保将标签L投入鸡蛋包装PE的标签配置区域R。(见图1)

图1 本申请
2022年6月1日,本申请被日本特许厅以不具备创造性为由驳回。申请人对该驳回决定不服,于2022年9月3日提出复审请求。
复审决定引用了对比文件1(实愿昭51-130681号(实开昭53-50766号))和对比文件2(特开2004-10102号公告),认为本申请的发明对于相关从业者来说是容易想到的,因此根据专利法第29条2款的规定,不能授予专利权。
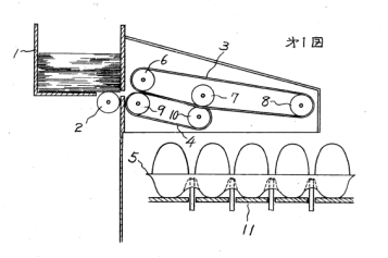
对比文件1公开了一种标签插入装置,输送带11上的包装5沿包装5的鸡蛋容纳部的短边方向输送,上、下标签输送用皮带3、4保持长方形标签L处于倾斜状态,并且在此状态下释放标签L。带轮6、9正确地垂直上下配置,带轮10相对于带轮7的位置偏移了距离d1,并且稍微向上移动距离d2,因此皮带4稍微扭曲。在带轮6、9处,上下皮带正确接触,但在带轮7、10处,下皮带4从上皮带3稍微向上偏移,因此标签L在带轮6、9处水平被夹持移动,但接近带轮7、10处逐渐倾斜,从标签输送用皮带3、4的夹持中脱离,标签L的长边朝下地向斜前方落下,向包装5的两排鸡蛋之间的区域准确供应标签(见图2)。

图2 对比文件1
对比文件2提供了一种标签投入装置,包括标签容器A、标签供应部B和标签投入部C,标签投入部C形成有用于暂时容纳由取出辊39取出的一张标签L的空间,和形成有用于投入标签到包装P的投入通道,立起的标签的下边缘的长边沿包装P的鸡蛋E和鸡蛋E之间的空间,向下方向投入该空间。包装P沿鸡蛋容纳部的短边方向或长边方向输送(见图3)。

图3 对比文件2
复审决定认为,本申请的权利要求1与对比文件1相比,有两个差异点(相当于中国的“区别技术特征”):
差异点1:本申请的鸡蛋包装沿标签配置区域输送,即沿鸡蛋包装的长边方向输送,而对比文件1的鸡蛋包装沿其短边方向输送。
差异点2:本申请的标签释放机构将标签沿标签的长边方向释放,而对比文件1的标签释放机构是使标签从输送带3、4的夹持中脱离,朝斜前方落下。
关于差异点1,对比文件1和2属于配置标签的装置这一共同的技术领域,具有在形成于鸡蛋包装的两列的鸡蛋之间的标签配置区域以长边为下缘配置长方形标签的共同作用功能。这样一来,在对比文件1中,应用对比文件2中记载的将包装的输送方向沿标签配置区域的方向输送,从而具备与差异点1相同的结构,这是本领域技术人员容易做到的。
关于差异点2,在对比文件1的标签插入装置中,标签L在由上皮带3和下皮带4输送并解除保持后,也与上皮带3接触而向带的驱动方向推出,因此,本领域技术人员显而易见,其移动方向是基于标签L的输送速度的惯性而沿标签输送用带3、4的方向,即沿标签的长边的方向。因此差异点2不是实质的不同点。
本发明的效果是本领域技术人员根据对比文件1和2中记载的技术事项预测得到的,并不特别显著。
2023年11月21日,日本特许厅的复审部以同样的理由做出了维持驳回决定的复审决定。2023年12月28日,申请人向知识产权高等法院提出诉讼(以下简称“本案”),请求撤销审判部的复审决定。
(四)原告主张
在本案的诉讼中,原告认为,本申请的复审在考虑差异点和效果时存在错误,这些错误影响了审判结论,因此,本申请的复审决定应该被撤销。
具体来说,关于差异点1,原告认为,对比文件1和2的标签释放方式不同,由于空气阻力的影响,将包装的输送方向从垂直于标签配置区域的方向改变为沿标签配置区域的方向后,标签的落下位置容易偏离,因此二者的结合存在阻碍因素。
关于差异点2,原告认为,本申请发明的“沿长边方向释放标签”意味着“将标签沿长边方向有动力地送出”。本案的复审决定认为,在对比文件1中,“标签L在释放保持后,仍然与上皮带3接触并被推动向皮带的驱动方向”。但在对比文件1中,标签L在上下皮带3、4的夹持解除后,不会再接触上皮带3,因此,本案审判的上述认定是错误的。
关于本申请的效果,原告认为,本申请发明的标签投入装置,通过将立起的标签的下缘的长边沿标签配置区域,沿长边方向释放标签,可以稳定地将标签投入标签配置区域,并且即使标签在标签配置区域发生弹跳,也可以稳定地将标签配置在正确的位置,具有特别显著的效果。因此,认为本申请的发明没有特别显著效果是错误的。
(五)被告主张
对于原告的以上观点,被告做了如下反驳。
关于差异点1,对比文件1和2所记载的各发明都属于共同的技术领域,并且具有共同的作用功能,另外,在输送带或输送装置中优化布局是这类装置固有的课题,因此对于对比文件1和2的技术事项的结合有动机。原告关于对比文件1的标签受空气阻力的影响的论述,在对比文件1中没有此类记载,对比文件1中并没有记载通过使标签落下的方向与鸡蛋包装的输送方向交叉来实现发明目的,即使鸡蛋包装的输送方向改变,也不能认为对比文件1的目的无法实现。因此不能说在对比文件1中改变鸡蛋包装的输送方向存在阻碍因素。
关于差异点2,被告反驳道,复审决定的上述认定,只是说明了标签L的后端部分在经过带轮7、10的位置时,标签L以沿带的驱动方向被输送时的速度被推出,并没有叙述标签L再次与上带3接触。因此,原告的主张是没有理由的。
关于原告主张的本发明特别显著的效果,根据对比文件1、2及本申请说明书的记载,相关从业者是可以预测的,所以并不显著。
二、案件程序
(一)争议焦点
本案的争议焦点是复审部关于本申请创造性的判断是否有误。
(二)法院观点
法院在分析本发明、对比文件1、对比文件2和技术常识的基础上,提出如下观点。
关于差异点1,优化输送带及相关装置的布局是相关从业者熟知的课题,而且,对比文件1和对比文件2都属于配置标签装置的共同技术领域,并且具有共同作用功能。因此,对于相关从业者来说,将对比文件1和对比文件2结合得到本发明是有动机的,并且是容易想到的。
至于原告所主张的空气阻力的影响的阻碍因素,法院指出,根据对比文件1的记载,对比文件1是“基于标签不在水平方向上落下,而是在标签倾斜的状态下落下时,则标签可靠地落下到该倾斜的下方延长方向这样的原理”来解决课题的。因此,空气阻力的影响至少在对比文件1的变更鸡蛋包装的输送方向方面,不构成阻碍因素。
另外,对比文件1中并没有记载通过使标签落下的方向与鸡蛋包装的输送方向交叉来实现发明目的。综合对比文件1的记载来看,即使鸡蛋包装的输送方向改变,也不能认为对比文件1的目的无法实现。
关于差异点2,对比文件1的标签L不仅由于重力而沿标签L的短边方向落下,还由于上下皮带3、4的运动,沿标签L的长边方向被推出。因此,可以说对比文件1的标签推出机构是“立起的标签的下边缘的长边沿所述标签配置区域,沿长边方向释放所述标签”的机构,所以差异点2不是实质性差异点。
关于发明的效果,原告所主张的这些效果在本申请说明书中没有记载,且不能认为是相关从业者无法预测的显著效果。
(三)法院裁判
基于上述情况,在本案申请日当时,相关从业者基于对比文件是容易做出本申请发明的,本案的复审决定没有错误,因此,判决驳回原告的诉讼请求,诉讼费用由原告承担。
三、经验启示
本案的核心在于日本专利法对创造性的判断。根据日本《专利法》第29条第2款的规定,如果相关从业者能够根据现有技术轻易想到某一技术方案,则该方案不具备创造性,无法获得专利权。虽然日本与中国在条文表述上有所差异,但在实务操作中,两国均通过比较现有技术与申请方案的差异,判断是否“容易想到”,并进一步考察是否存在预料不到的技术效果或技术结合上的阻碍因素。换言之,突出的实质性特点与显著的进步仍然是中日专利制度对创造性的共同要求。
对于技术型企业来说,技术创新是发展的根本动力,技术保护是发展的根本保障。因此,要想在市场竞争中立于不败之地,必须重视专利权的获得和保护。本案中,原告以未能获得专利权告终,主要原因在于没有撰写强有力的权利要求书和说明书。
原告的专利申请实际上提供了一种不同于现有技术的标签投入装置,其技术方案于对比文件的最大差异在于,其标签投入机构显著不同于对比文件。本申请在其说明书的背景技术中已经提到了对比文件2,但其权利要求撰写得与该对比文件差异极小,导致其在审查阶段就被审查员指出,其权利要求相对于对比文件2不具有创造性。审查员在《驳回理由通知书》中已经指出本申请不具备创造性的情况下,申请人仅对权利要求的文字表述做了形式上的微小修改,并未增加解决本发明的技术问题的实质性技术特征,例如标签释放机构的构成等。这是本申请最终不能获得授权的主要原因。
此外,本申请的说明书未能就其标签投入装置的技术效果进行充分的记载,也是撰写的明显不足。如果其能提供其标签投入装置投入标签的准确率的实验数据,或者提供本发明与对比文件2的投入准确率的对比实验结果,从而证明本申请发明效果的显著性,结果可能会有所不同。
本案对中国企业在中国和日本进行专利保护均有一定启发。通过本案的案情梳理及法律分析可以看出,日本专利创造性的判断与中国没有本质上的差异,均重视突出的实质性特点和显著进步的考察。在撰写专利文件时,应充分考虑现有技术,准确把握发明与现有技术的区别,充分证明发明的技术效果,由此才能为专利的获权和保护奠定坚实的基础。
(原标题:【海声开悟】日本专利复审之创造性认定的案例实践)
来源:北京知识产权公共服务,首都知识产权服务业协会供稿、整理
声明:本文仅代表作者观点,不代表北京市知识产权公共服务中心立场。

